返回
顶部
我们已发送验证链接到您的邮箱,请查收并验证
没收到验证邮件?请确认邮箱是否正确或 重新发送邮件
确定

#晨报#国家知识产权局:推动知识产权与人工智能共生演进、融合发展;新加坡知识产权局推出高达30%审查费退款试点计划

晨报
纳暮2025-10-20
#晨报#国家知识产权局:推动知识产权与人工智能共生演进、融合发展;新加坡知识产权局推出高达30%审查费退款试点计划

#本文仅代表作者观点,不代表IPRdaily立场#


#开庭公告#


最高人民法院知识产权法庭2025年10月20日开庭公告


最高人民法院知识产权法庭定于二〇二五年十月二十日上午九时在最高人民法院知识产权法庭第五法庭公开开庭审理上诉人鲍勃斯脱股份有限公司与被上诉人国家知识产权局,原审第三人潮州博成印务有限公司发明专利权无效行政纠纷一案。

特此公告。


二〇二五年十月十七日


最高人民法院知识产权法庭定于二〇二五年十月二十日上午九时在最高人民法院第七法庭公开开庭审理上诉人莱芬豪舍有限责任两合公司机器制造厂与被上诉人宏大研究院有限公司、国家知识产权局发明专利权无效行政纠纷一案。

特此公告。


二〇二五年十月十七日


最高人民法院知识产权法庭定于二〇二五年十月二十日下午十四时三十分在最高人民法院知识产权法庭第二法庭公开开庭审理上诉人上海中聚佳华电池科技有限公司与被上诉人车海英、浙江钠创新能源有限公司专利权权属纠纷一案。

特此公告。


二〇二五年十月十七日


最高人民法院知识产权法庭定于二〇二五年十月二十日下午十四时三十分、十八时在最高人民法院知识产权法庭第五法庭公开开庭审理上诉人支付宝(杭州)信息技术有限公司与被上诉人国家知识产权局发明专利申请驳回复审行政纠纷两案。

特此公告。


二〇二五年十月十七日


最高人民法院知识产权法庭定于二〇二五年十月二十日下午十四时三十分在最高人民法院第六法庭公开开庭审理上诉人诺维信公司与被上诉人国家知识产权局,原审第三人张敏发明专利权无效行政纠纷一案。

特此公告。


二〇二五年十月十七日

(来源:最高人民法院知识产权法庭)


最高人民法院知识产权法庭2025年10月21日开庭公告


最高人民法院知识产权法庭定于二〇二五年十月二十一日上午九时三十分在最高人民法院知识产权法庭第六法庭公开开庭审理上诉人萨克米伊莫拉机械合作社合作公司与被上诉人国家知识产权局,一审第三人李蓉发明专利权无效行政纠纷一案。

特此公告。


二〇二五年十月十八日


最高人民法院知识产权法庭定于二〇二五年十月二十一日上午九时三十分在最高人民法院第五法庭公开开庭审理上诉人江苏洛凯电气有限公司与被上诉人国家知识产权局,原审第三人兴机电器集团有限公司实用新型专利权无效行政纠纷一案。

特此公告。


二〇二五年十月十八日


最高人民法院知识产权法庭定于二〇二五年十月二十一日下午十四时三十分在最高人民法院第六法庭公开开庭审理上诉人锐迈科技股份有限公司与被上诉人国家知识产权局,原审第三人顾家家居股份有限公司实用新型专利权无效行政纠纷两案。

特此公告。


二〇二五年十月十八日


最高人民法院知识产权法庭定于二〇二五年十月二十一日下午十四时三十分在最高人民法院第二法庭公开开庭审理上诉人广州欧欧医疗科技有限责任公司与被上诉人深圳市立心堂医疗有限公司、浙江普特医疗器械股份有限公司、高唤唤侵害发明专利权纠纷一案。

特此公告。


二〇二五年十月十八日


最高人民法院知识产权法庭定于二〇二五年十月二十一日下午十四时三十分在最高人民法院知识产权法庭第六法庭公开开庭审理上诉人杨淼彬与被上诉人国家税务总局侵害发明专利权纠纷一案。

特此公告。


二〇二五年十月十八日

(来源:最高人民法院知识产权法庭)


#IPO那些事儿#


瑞尔竞达IPO:公司及子公司已取得专利70项,研发费用率总体落后于同行可比公司


明光瑞尔竞达科技股份有限公司(以下简称瑞尔竞达)第二次冲刺北交所IPO收到了第二轮问询。与此前2023年IPO相比,此次IPO,该公司的募集资金“缩水”超1亿元,且之前1亿元募集资金补充流动资金的项目已经被剔除。

招股书显示,此次IPO,瑞尔竞达计划募集资金3.35亿元,其中2.61亿元用于冶金过程碳捕集新工艺与节能长寿新材料智能化装备基地建设项目,0.48亿元用于冶金过程碳捕集工艺与节能长寿材料研发中心建设项目,0.26亿元用于复合金属相炮泥生产线技改扩建项目。

资料显示,瑞尔竞达作为一家专业为高炉炼铁系统提供长寿技术方案及关键耐火材料的高新技术企业,主要从事炼铁高炉高效、长寿、节能、绿色、环保等技术与所需耐火材料的研发、生产和销售。

瑞尔竞达的研发费用率总体落后于同行可比公司,报告期内,同行可比公司的研发费用率均值分别为4.64%、4.13%和4.57%。


2.1


事实上,瑞尔竞达的研发费用率也远低于该公司的销售费用率和管理费用率。报告期内,该公司的销售费用分别为2114万元、3604万元和3741万元,当期销售费用率分别为5.25%、7.71%和7.86%;同期该公司的管理费用分别为2121万元、2380万元和2683万元,占当期管理费用率5.27%、5.09%和5.63%。


2.2


截至招股说明书签署日,瑞尔竞达及子公司已取得专利70项,其中发明专利16项、实用新型专利54项。

尽管研发费用率总体低于同行且低于其销售费用率和管理费用率,但瑞尔竞达的毛利率却远高于同行可比公司的均值,报告期内,该公司的毛利率分别为32.26%、37.74%和39.72%,同期可比公司的毛利率均值分别为18.86%、17.95%和15.86%。(来源:电鳗快报)


#局里那些事儿#


国家知识产权局:推动知识产权与人工智能共生演进、融合发展


以“知识产权与人工智能”为主题的第二十二届上海知识产权国际论坛10月18日开幕。

上海市市长龚正表示,上海始终把建设知识产权强市作为推动高质量发展的重要着力点,要构建更加严格的知识产权保护体系,形成更加高效的知识产权转化机制,打造更加开放的知识产权生态,充分发挥知识产权在护航创新、赋能发展中的重要作用。

国家知识产权局局长申长雨指出,国家知识产权局持续完善人工智能领域知识产权制度规则,强化高价值知识产权技术供给,运用人工智能大模型技术提升知识产权领域治理效能,积极参与人工智能全球治理,推动知识产权与人工智能共生演进、融合发展。他认为,上海是最早布局人工智能产业的城市之一,在人工智能发展和治理各方面有很多好的经验和做法。

世界知识产权组织(WIPO)副总干事王彬颖说,中国成为人工智能领域的关键参与者,同样反映出中国知识产权综合实力的全面提升。上海拥有上万家人工智能企业、2万多件人工智能发明专利和近30万名人工智能专业人才队伍,具有很强的创新活力。

WIPO愿与中国政府以及上海市进一步深化知识产权合作与交流,共同构建更具创新性、包容性和可持续性的未来。

本届论坛由国家知识产权局、世界知识产权组织和上海市人民政府共同主办。论坛为期3天,中外嘉宾将围绕“人工智能时代的知识产权运营管理”“人工智能时代的知识产权治理与创新生态构建”等议题开展交流探讨。当日论坛现场颁发了第五届上海知识产权创新奖,发布共建“一带一路”国家在华专利优秀案例。(来源:中国新闻网)


#企业知产那些事儿#


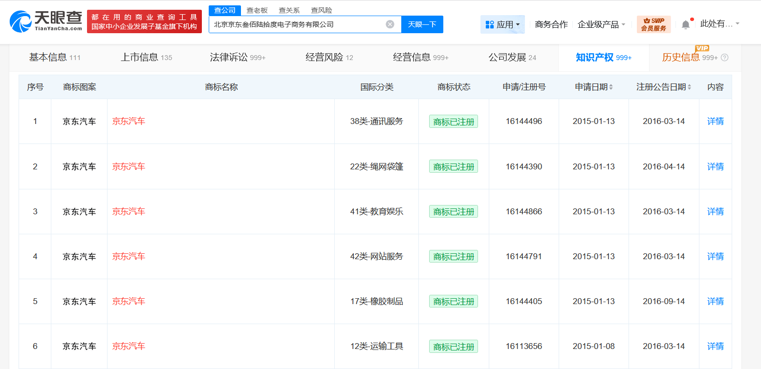
京东已申请注册多枚“京东汽车”商标


2025京东11.11期间,京东将联合广汽、宁德时代推出一款“国民好车”。据介绍,该款新车将在10月底陆续开启内测版、大众版试驾活动,并于11月9日正式官宣发布。

天眼查App显示,北京京东叁佰陆拾度电子商务有限公司已申请注册多枚“京东汽车”“京东汽车 JD AUTO”“京东汽车 CAR.JD.COM”商标,国际分类为运输工具、科学仪器、广告销售等,当前部分商标已注册成功。


2.32.42.5

(来源:和讯网)


#知产大省那些事儿#


浙江发布海外引才团体标准


近日,浙江印发《企业海外人才引进知识产权风险管理规范》团体标准,聚焦企业海外人才引进全流程,明确人才招聘、入职、履职及离职各环节的知识产权风险管理要求,帮助企业规范相关操作,有效避免因知识产权的权属不清引发侵权纠纷与法律诉讼。

海外人才是创新驱动发展的重要力量,标准化为海外人才引进架设“安全轨道”。浙江将以此次标准发布为新起点,推进标准宣贯落实,推动“识别—评估—应对”防控理念转化为企业海外引才实战能力,通过系统化管理赋能,为企业用好海外人才、筑牢知识产权安全防线提供支撑。(来源:国家知识产权局网站)


北京探索知识产权质押融资“政银合作”模式


近年来,为破解企业融资难题,提升知识产权金融服务质量,北京市知识产权局和北京金融监管局联合相关委办局,分别与中国工商银行、中国银行、北京银行等23家银行开展“政银合作”服务模式,培养知识产权质押融资服务专员76名,推出知识产权质押融资产品25个。

以北京银行为例,将贷款目标群体聚焦在新一代信息技术等高新技术企业,结合中关村初创期科技型企业收入规模小、缺少实物资产抵押、难以通过传统贷款产品质押融资的特点,以“联创E贷”创新贷款产品为主体,设计了以知识产权质押作为有效风险担保措施的知识产权质押融资方案。通过该贷款方案为某智能计算企业贷款2000万,用于企业研发类脑计算芯片和计算系统等“智算”类产品,并获得市知识产权局贴息支持。该方式既解决了企业融资的燃眉之急,又降低了企业融资成本。

2023年至2025年,市知识产权局实施知识产权质押融资服务高质量发展专项资金,持续支持北京市企业及金融机构获得贷款贴息、综合成本费用补贴和风险补偿资金超过1亿元,获支持企业达1100多家次,涉及贷款总额超80亿元,帮助相关企业降低融资成本34.21%。下一步将深入落实《北京市知识产权金融生态综合试点行动方案》,不断丰富知识产权金融产品和服务,持续激发企业将“知产”变“资产”的创新动力。(来源:国家知识产权局网站)


#海外知产那些事儿#


新加坡知识产权局推出高达30%审查费退款试点计划


新加坡知识产权局(IPOS)推出了一项试点计划,为企业更好地利用PPH加速其专利申请审查过程提供支持。在2025年9月15日至2027年12月31日期间,如果提交了利用PPH加速审查的请求,申请人可获得最高30%的官方审查费退款。

PPH通过专利局之间的合作,使申请人能够利用来自另一参与专利局的积极审查结果,加速第二局专利申请的审查。IPOS是GPPH项目的参与局之一,与中国、墨西哥、欧洲、沙特阿拉伯、法国及马来西亚的知识产权局有双边PPH协议。通过使用PPH加速在新加坡的专利申请审查,申请人可期待更高的专利授权率(94%)、更快的首次审查(在10个月内)和较少的审查程序,目前约70%在首次审查时在新加坡获得授权。

申请人可以在提交审查请求时或审查开始前的任何时间提交PPH请求。如果专利申请的审查尚未开始,已请求审查的申请人仍可申请PPH并获得部分审查费退款。一旦IPOS接受了PPH请求,退款将自动处理,申请人可预计在1-2个月内收到IPOS的退款。

对于检索与审查请求,退款金额为615新加坡元;如果IPOS已经建立了国际检索报告(ISR)的新加坡国家阶段申请的检索与审查请求,退款金额为315新加坡元;使用现有检索结果进行审查的请求,退款金额为426新加坡元。(来源:页知码IP)


世界知识产权组织、非洲地区知识产权组织与日本专利局携手强化非洲技术与创新支持中心网络


近期,2025年世界知识产权组织(WIPO)与非洲地区知识产权组织(ARIPO)技术与创新支持中心(TISC)区域会议在位于哈拉雷的ARIPO秘书处正式开幕。本次活动由WIPO与ARIPO共同主办,并获得了日本专利局(JPO)信托基金的支持。


日本驻津巴布韦大使馆副馆长熊谷博之(Hiroyuki Kumagai)代表JPO出席了开幕式并发表了致辞,而TISC发展部知识产权信息官埃兰吉.伊图库.博托伊(Elangi Ituku Botoy)则代表WIPO总干事邓鸿森(Daren Tang)参加了本次活动。主办方ARIPO由其总干事贝曼亚.特韦巴泽(Bemanya Twebaze)先生代表。

特韦巴泽总干事在开幕辞中强调,可获取的技术信息对非洲迈向知识经济是至关重要的。他谈到了日益扩大的数字鸿沟以及对其进行补救的紧迫性。对此,他讲道:“获取技术信息正变得愈发重要,但有能力获取信息者与无法获取者之间的数字鸿沟也在加剧。这种现状必须改变。新技术能为可持续发展和基于证据的决策带来变革性的影响,因为它们能提供更好的解决方案,同时更具成本效益和可扩展性。”

熊谷博之先生对此观点表示了认同,并强调了国际合作与知识共享的重要性:“本次会议将展示出ARIPO以外地区TISC网络的成功案例。我相信跨区域最佳实践的分享将有助于加强ARIPO区域的TISC网络。”他还重申了JPO会支持该地区知识产权发展的承诺。

为期两天的研讨会汇集了ARIPO成员国及观察员国的代表,为参与者提供了交流平台,共同讨论最新进展、分享经验、分析挑战,并研讨加强各国TISC网络的战略举措。此次会议旨在推动非洲大陆构建一体化的创新生态系统,使TISCs成为获取专利与非专利信息的关键枢纽,从而促进技术创新、技术转移和经济增长。

这个自2018年起获得WIPO和JPO支持的TISC项目,致力于帮助发展中国家创新者获取到本地化定制的高质量技术信息及相关服务,使其能充分发挥创新潜力,并创建、保护和管理好自身的知识产权。此次年度区域会议将显著加强ARIPO成员国境内的TISC中心建设,为打造更具创新活力与技术实力的非洲铺平道路。(来源:中国保护知识产权网)


栏目支持,共建合作伙伴持续招募


编辑:IPRdaily辛夷          校对:IPRdaily纵横君


注:原文链接#晨报#国家知识产权局:推动知识产权与人工智能共生演进、融合发展;新加坡知识产权局推出高达30%审查费退款试点计划(点击标题查看原文)


今日报名截止!寻找2024年“40位40岁以下企业知识产权精英”活动

「关于IPRdaily」


IPRdaily是全球领先的知识产权综合信息服务提供商,致力于连接全球知识产权与科技创新人才。汇聚了来自于中国、美国、欧洲、俄罗斯、以色列、澳大利亚、新加坡、日本、韩国等15个国家和地区的高科技公司及成长型科技企业的管理者及科技研发或知识产权负责人,还有来自政府、律师及代理事务所、研发或服务机构的全球近100万用户(国内70余万+海外近30万),2019年全年全网页面浏览量已经突破过亿次传播。


(英文官网:iprdaily.com  中文官网:iprdaily.cn) 


本文来IPRdaily中文网(iprdaily.cn)并经IPRdaily.cn中文网编辑。转载此文章须经权利人同意,并附上出处与作者信息。文章不代表IPRdaily.cn立场,如若转载,请注明出处:“http://www.iprdaily.cn”

本文来自于iprdaily,永久保存地址为/news_40847.html,发布时间为2025-10-20 10:41:27
我也说两句
还可以输入140个字
我要评论
相关文章