返回
顶部
我们已发送验证链接到您的邮箱,请查收并验证
没收到验证邮件?请确认邮箱是否正确或 重新发送邮件
确定

#晨报#事关王老吉海外商标,加多宝和王老吉大健康再打诉讼战;11月10日生效!乌兹别克斯坦通过新的知识产权法

晨报
纳暮2025-10-11
#晨报#事关王老吉海外商标,加多宝和王老吉大健康再打诉讼战;11月10日生效!乌兹别克斯坦通过新的知识产权法

#本文仅代表作者观点,不代表IPRdaily立场#


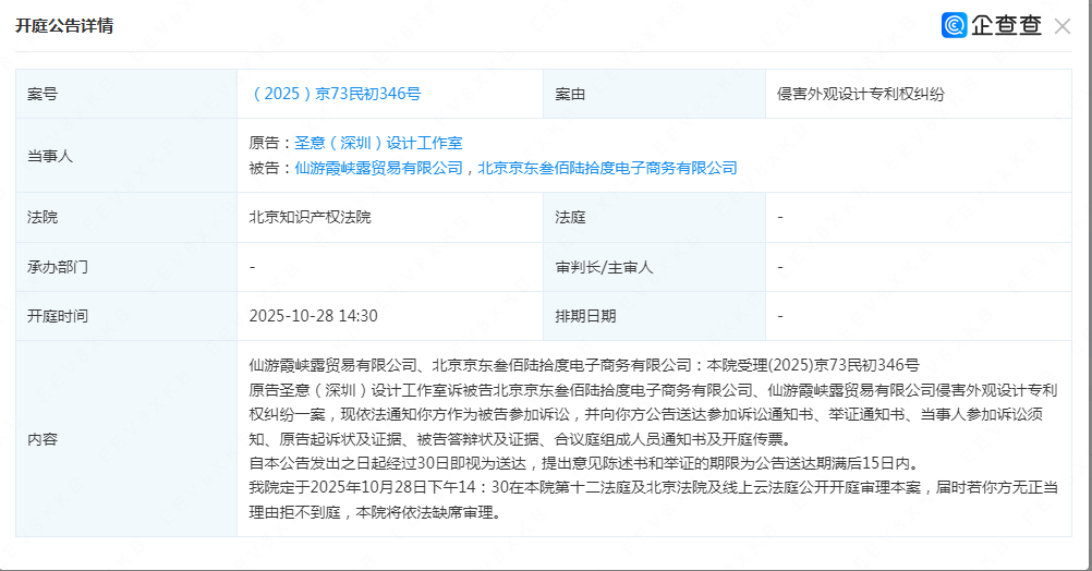
#开庭公告#


京东零售作为被告/被上诉人的1起涉及侵害外观设计专利权纠纷的诉讼将于2025年10月28日开庭


根据企查查APP显示,近日公布了一则北京京东叁佰陆拾度电子商务有限公司作为被告/被上诉人的开庭公告,案号:(2025)京73民初346号,详细内容如下:


2.1


根据统计,近一年内以北京京东叁佰陆拾度电子商务有限公司为当事人的历史开庭公告有1559则,其中案由为“侵害商标权纠纷”的公告以434则居首,其次为“信息网络买卖合同纠纷”有282则,“著作权权属、侵权纠纷”有171则。历史开庭公告(前20条)如下:


2.2

(来源:IPRdaily综合证券之星、企查查)


#局里那些事儿#


国家知识产权局关于将世界知识产权组织国际局通报的31件标志纳入官方标志保护的公告(第647号)


为履行我国加入的《保护工业产权巴黎公约》第六条之三,依据《中华人民共和国商标法》第十条第一款有关规定,现将世界知识产权组织国际局于2024年9月30日向中国国家知识产权局通报的31件标志纳入官方标志保护。

特此公告。

附件:
1.纳入官方标志保护的2件徽章、官方检验印章等国家徽记
2.纳入官方标志保护的29件政府间国际组织徽记、名称等徽记


国家知识产权局
2025年9月29日

(来源:国家知识产权局网站)(复制链接至浏览器下载附件:https://www.cnipa.gov.cn/art/2025/10/10/art_576_201963.html?xxgkhide=1)

#企业知产那些事儿#


事关王老吉海外商标,加多宝和王老吉大健康再打诉讼战


“王老吉”商标大战硝烟再起。10月10日,加多宝集团突然发布声明,声称拥有王老吉海外商标所有权。而此前9月30日,广州王老吉大健康产业有限公司(下称“王老吉大健康公司”)则指责加多宝属于恶意抢注,双方围绕海外商标归属展开新一轮攻防战。

从声明来看,双方对于海外王老吉商标归属各执一词。在今日发布的声明中,加多宝集团称20世纪90年代从王老吉后人手中取得凉茶秘方及海外王老吉商标使用权,并在2000年代合法取得海外王老吉商标所有权,已经在全球60个主要国家和地区注册了王老吉商标,并称近期市场流传的海外“王老吉”品牌权益的相关言论不实,将采取法律手段保护权益。


2.3


而在9月30日发布的公告中,王老吉大健康公司则称王老吉商标所有人为广州白云山医药集团股份有限公司(下称 广药集团),并表示已在全球100多个国家和地区完成“王老吉”“WALOVI”系列商标注册。并指责加多宝集团通过海外离岸关联公司万捷有限公司在全球多地恶意注册,干扰了公司正常拓展海外业务。

记者注意到,双方在英文商标上并不相同,加多宝集团注册的是“WANG LAO JI”和“WONG LO KAT”,广药大健康注册的是“WALOVI”,但中文的“王老吉”则两者一致。

双方目前已围绕海外商标展开一轮攻防战。加多宝9月30日在公众号称,公司已经在加拿大联邦法院及欧盟普通法院的多起诉讼中获胜;但同日晚些时候,王老吉大健康公司也声称已在21个国家/地区对加多宝关联公司的“恶意注册”发起维权,目前已有10个国家/地区裁定撤销加多宝相关商标。

值得注意的是,加多宝和广药集团围绕王老吉商标展开过旷日持久的诉讼大战,最终广药集团成为王老吉商标的所有人,但双方共享红罐包装。(来源:第一财经)


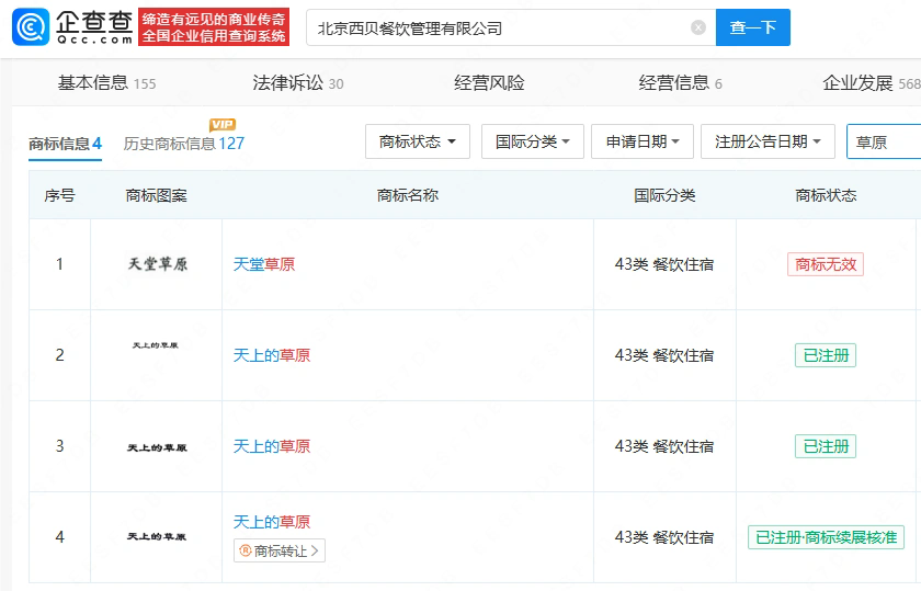
西贝新门头“我从草原来”,企查查显示其有多枚相关商标


近日,有网友发帖称,“国庆去西贝。不知道其他店怎么样,石景山万达这家,餐厅logo从之前的红白配色换成了白绿配色,‘莜面村’改成了‘我从草原来’,看着清新舒服了很多。”

查询西贝官网发现,今年年初其曾进行Logo焕新升级,“西贝莜面村”升级为“西贝XIBEI”,图片仍为红白配色。企查查APP显示,北京西贝餐饮管理有限公司曾注册“天上的草原”商标,内蒙古西贝餐饮集团有限公司也曾注册“西贝 每天一头草原牛”商标。


2.42.5

(来源:企查查)


#知产大省那些事儿#


江西省政府常务会议审议通过《江西省关于2024年中央质量、知识产权保护考核反馈意见的整改方案》


近日,江西省第102次省政府常务会议召开,通报2024年中央质量、知识产权保护考核结果,审议通过《江西省关于2024年中央质量、知识产权保护考核反馈意见的整改方案》,研究部署下一步工作。


省长叶建春主持会议并讲话。他强调,要深入学习贯彻习近平总书记关于质量工作的重要指示批示精神,全面贯彻落实党中央、国务院有关决策部署,大力推进质量提升、标准创新和品牌培育,持续提升质量治理能力,为推动全省经济高质量发展和满足人民群众高品质生活需求提供更加有力的质量支撑。(来源:国家知识产权局网站)


海口市知识产权保护中心揭牌运行,服务海南自贸区创新驱动发展


近日,海口市知识产权保护中心揭牌仪式举行。此次揭牌,标志着海口市知识产权保护中心正式纳入全国知识产权快速协同保护工作体系并投入运行,是海南省构建全链条知识产权保护体系、服务自贸港创新驱动发展的关键一步,开启该省知识产权事业发展新征程。

据悉,该中心将聚焦海口市装备制造和生物医药两大重点产业领域,为创新主体提供专利快速预审、确权、维权等专业化服务,通过压缩专利审查周期,加速创新成果转化应用,助力产业提升核心竞争力,为海口高新区知识产权综合服务示范区建设注入新动能。

据介绍,海南省知识产权局将指导海口市知识产权保护中心严格落实海南省委、省政府和国家知识产权局部署要求,充分发挥国家级平台功能优势,紧密对接产业需求,优化服务流程,提升专业能力,切实发挥“一站式”服务平台作用,为海南自贸港建设贡献知识产权系统的智慧和力量。(来源:中国质量新闻网)


#海外知产那些事儿#


11月10日生效!乌兹别克斯坦通过新的知识产权法


2025年5月13日,乌兹别克斯坦通过了《关于修订和补充若干法令》的法律(ZRU-1080)。与之相关的知识产权登记相关修正案于2025年8月9日生效,知识产权执法相关措施将于2025年11月10日生效。

该法律旨在通过数字化简化知识产权注册,消除申请时官费支付确认的需要,并加强保护知识产权的执法机制,同时促进创新。这些变化使乌兹别克斯坦的立法与全球知识产权标准保持一致,增强了该国对投资者和创作者的吸引力。(来源:集佳知识产权)


2026年1月1日起实施!日本与巴林王国就启动专利审查高速路(PPH)达成协议


2025年9月19日,日本首相石破茂与正在访日的巴林王国王储兼首相萨勒曼·本·哈马德·阿勒哈利法(Salman bin Hamad Al Khalifa)进行了首脑会谈。

同日,在两国首脑的共同见证下,日本特许厅(JPO)长官河西康之与巴林王国工商部官员签署了关于启动专利审查高速路(PPH)的双边合作谅解备忘录(MoC),并达成自2026年1月1日起正式实施该机制的共识。

JPO将以此次专利审查高速路(PPH)启动为契机,通过与巴林王国工商部活用并共享专利审查结果,开展高效的专利审查合作,致力于打造能使日本企业在巴林王国获得快速且准确知识产权保护的良好环境。(来源:北京知识产权公共服务)


栏目支持,共建合作伙伴持续招募


编辑:IPRdaily辛夷          校对:IPRdaily纵横君


注:原文链接#晨报#事关王老吉海外商标,加多宝和王老吉大健康再打诉讼战;11月10日生效!乌兹别克斯坦通过新的知识产权法(点击标题查看原文)


今日报名截止!寻找2024年“40位40岁以下企业知识产权精英”活动

「关于IPRdaily」


IPRdaily是全球领先的知识产权综合信息服务提供商,致力于连接全球知识产权与科技创新人才。汇聚了来自于中国、美国、欧洲、俄罗斯、以色列、澳大利亚、新加坡、日本、韩国等15个国家和地区的高科技公司及成长型科技企业的管理者及科技研发或知识产权负责人,还有来自政府、律师及代理事务所、研发或服务机构的全球近100万用户(国内70余万+海外近30万),2019年全年全网页面浏览量已经突破过亿次传播。


(英文官网:iprdaily.com  中文官网:iprdaily.cn) 


本文来IPRdaily中文网(iprdaily.cn)并经IPRdaily.cn中文网编辑。转载此文章须经权利人同意,并附上出处与作者信息。文章不代表IPRdaily.cn立场,如若转载,请注明出处:“http://www.iprdaily.cn”

本文来自于iprdaily,永久保存地址为/news_40783.html,发布时间为2025-10-11 10:56:24
我也说两句
还可以输入140个字
我要评论
相关文章