返回
顶部
我们已发送验证链接到您的邮箱,请查收并验证
没收到验证邮件?请确认邮箱是否正确或 重新发送邮件
确定

本土新锐对决行业巨头:拿森科技就电磁阀专利对博世发起无效宣告请求

诉讼
阿耐2025-11-02
本土新锐对决行业巨头:拿森科技就电磁阀专利对博世发起无效宣告请求

#本文仅代表作者观点,不代表IPRdaily立场#


“上海拿森汽车电子有限公司针对罗伯特·博世有限公司持有的名为‘用于控制流体的电磁阀’的发明专利(专利号:2011100528199)提出无效宣告请求。”


随着智能驾驶时代的到来,汽车产业链竞争格局正在重塑,核心零部件的知识产权成为企业角力的关键战场。


公开信息显示,上海拿森汽车电子有限公司(以下简称“拿森科技”)已针对罗伯特·博世有限公司持有的名为“用于控制流体的电磁阀”的发明专利(专利号:2011100528199)提出无效宣告请求。


01


涉案专利由博世有限公司于2011年3月3日申请,代理机构为北京市金杜律师事务所。该专利的作用在于精确控制流体(如液压油或压缩空气)的流动从而执行换挡、助力刹车等动作。其性能直接关系到车辆的响应速度、平顺性与安全性。


2025年4月30日,拿森科技委托北京市柳沈律师事务所正式向国家知识产权局提交无效宣告请求,案件编号为4W120041。


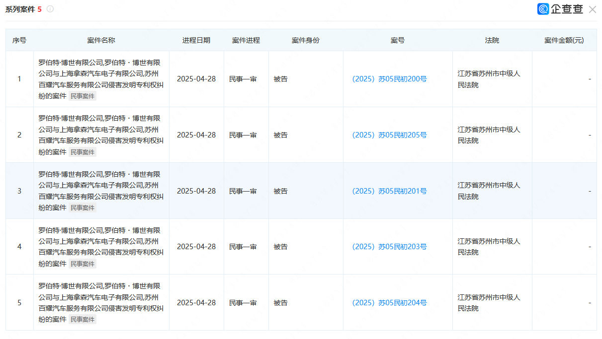
今年3月,博世公司在江苏省苏州市中级人民法院对拿森科技提起了五项侵害发明专利权的诉讼,但未公开具体专利细节。相关案件已于2025年4月28日开庭审理。


02


从时间线与技术领域关联性推测,“用于控制流体的电磁阀”极有可能是上述系列诉讼中的争议专利之一。


博世公司成立于1886年,作为拥有近140年历史的德国工业巨头,旗下涉及汽车与智能交通、工业、消费品、能源与建筑四大业务板块。其中,汽车板块占据博世公司营收的60%,其技术积累与专利布局深厚。


拿森科技成立于2016年,是一家专注于智能驾驶与新能源汽车的线控底盘技术研发的高新技术企业,客户覆盖长安、长城、广汽、吉利、北汽、百度等30余家车企及自动驾驶公司,一度被行业视为国内冲击博世、大陆、采埃孚体系的新锐厂商。


这场审理,吹响了千亿线控底盘市场话语权争夺的号角。面对在华发起超50起诉讼且胜率高达82%的博世[1],拿森科技的回击意味深远。这不仅是专利层面上的攻防,更是本土创新力量在核心领域与国际巨头的实力对决,其结果将深刻影响中国智能汽车产业链的竞争格局与未来走向。


参考:

[1]博世vs拿森:谁在偷谁的技术?https://mp.weixin.qq.com/s/Gm4_cwWGjgr7UJfaD9zRhw


(原标题:本土新锐对决行业巨头:拿森科技就电磁阀专利对博世发起无效宣告请求)


来源:知联社

作者:岑启

编辑:IPRdaily赵甄          校对:IPRdaily纵横君


注:原文链接本土新锐对决行业巨头:拿森科技就电磁阀专利对博世发起无效宣告请求点击标题查看原文)


今日报名截止!寻找2024年“40位40岁以下企业知识产权精英”活动

「关于IPRdaily」


IPRdaily是全球领先的知识产权综合信息服务提供商,致力于连接全球知识产权与科技创新人才。汇聚了来自于中国、美国、欧洲、俄罗斯、以色列、澳大利亚、新加坡、日本、韩国等15个国家和地区的高科技公司及成长型科技企业的管理者及科技研发或知识产权负责人,还有来自政府、律师及代理事务所、研发或服务机构的全球近100万用户(国内70余万+海外近30万),2019年全年全网页面浏览量已经突破过亿次传播。


(英文官网:iprdaily.com  中文官网:iprdaily.cn) 


本文来知联社并经IPRdaily.cn中文网编辑。转载此文章须经权利人同意,并附上出处与作者信息。文章不代表IPRdaily.cn立场,如若转载,请注明出处:“http://www.iprdaily.cn”

本文来自于iprdaily,永久保存地址为/news_40947.html,发布时间为2025-11-02 14:42:42
我也说两句
还可以输入140个字
我要评论
相关文章